12+Vaata galeriid
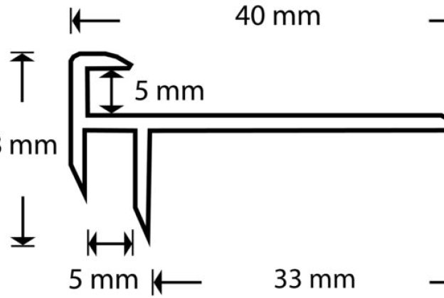
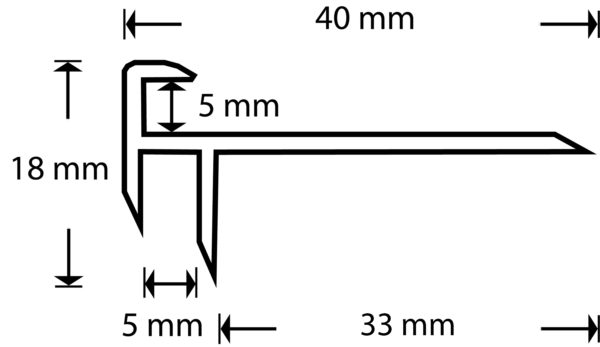
Trepinurk 18×40×5 mm, LVT ‑põrandale, hõbedane anodeeritud alumiinium, 1000 mm du- DV5 HE1_1
Trepinurk 18×40×5 mm, LVT ‑põrandale, hõbedane anodeeritud alumiinium, 1000 mm du- DV5 HE1_2

Trepinurk 18×40×5 mm, LVT ‑põrandale, hõbedane anodeeritud alumiinium, 1000 mm du- DV5 HE1

See trepinurk on mõeldud LVT‑põrandakatete viimistlemiseks trepiastmetel. Profiil kaitseb trepi esiserva kulumise eest ja annab astmele puhta, professionaalse välimuse. Valmistatud hõbedasest anodeeritud alumiiniumist, mis on kerge, vastupidav ja kriimustuskindel. Dekoratiivne ja praktiline lahendus nii kodus kui ka äripindadel. Seda on lihtne paigaldada ja hooldada

 

Toode on tellimisel
Esto 3
Tasu 3 võrdse osana (0% lisakulu). Loe rohkem
Küsi pakkumist
Täida vorm või kirjuta tallinn@porandakeskus.ee või helista +372 5666 7641
Tehniline info
Tootekood
du-DV5 HE1
Kollektsioon
Treppide lisatarvikud
Laius
18 x 40 x 5mm
Pikkus
1m
Materjal
Alumiinium
Pinnaviimistlus
Anodeeritud
Paigaldusmeetod
Kruvitav
Kaal
0.305 kg